Рідкі відходи нафтопереробки та їх попередня очистка. При виборі метода переробки стічних вод як в нафтопереробці, так і в нафтохімії, попередньо необхідно визначити джерело забруднених відходів, ступінь їх забруднення, можливість їх роздільної очистки, використовуючи, при необхідності попередню обробку.
Попередня обробка дозволяє забезпечити визначену рециркуляцію і відповідно, запобігти додатковим витратам та габаритам очисних споруд, що здається невідворотнім при переробці дуже розбавлених стічних вод.
Основними рідкими відходами є маслянисті води – доцільно проводити три попередніх основні стадії загальної обробки:
- Попередня очистка від масел;
- Очистка від масел фізико - хімічним методом, або первинна очистка;
- Біологічна або вторинна очистка.
Перед другою та третьою стадіями очистки стічних вод до них можуть бути додані стічні води, що пройшли іншу попередню очистку, або рідкі відходи, що не містять масла.
Можлива також і четверта стадія, так звана третинна обробка. Вона зустрічається останнім часом все частіше через норми (особливо це стосується азоту) і як необхідний етап при організації обігового циклу підживлення водних систем охолодження.
Джерела стічних вод при нафтопереробці та піролізі
Перед тим, як говорити про рідкі викида та їх обробку, слід охарактеризувати НПЗ – його виробництва і деякі кількісні показники.
Виробництво. При оцінці виробництва слід враховувати річний або денний об’єм нафтопереробки і співвідношення кількостей продуктів вакуумної та атмосферної перегонки; сировину установок термічного (вісбрекінг, коксування) і каталітичного (рідинний і гідрокрекінг) розклади; потужності устаткування для виробництва базових змащувальних масел; Потужності установок депарафінізації харчових масел.
Кількісні аспекти. Вони включають основні характеристики як оброблюваної сировини: градусна характеристика відповідно до рекомендацій АНІ (Американський нафтохімічний інститут), вміст сірки, парафінів, нафтенових кислот (потенційна кислотність) і асфальтенів, так і вживаних розчинників (2-метил-2-нітро-1-пропанола, фурфурол, метилетилкетона, матилізобутилкетона).
Вода після обезсолювання нафти
Установка обезсолювання використовується для забезпечення процесу нафтоперегонки обезсоленою нафтою, що вміщує від 0,1 до 0,2 води, із залишковим вмістом солі менш ніж 1-10 мг на літр (0,3-3 млрд-1).
На виході НПЗ сира нафта повинна характеризуватись наступними показниками: від 0,1 до 0,2% води і 100 мг-екв NaCl на один літр. Насправді ж, вміст води звичайно складає 0,3-0,5%, а солі –150-300 мг-екв\л (в той час коли на деяких установках віскбрекінга воно повинне бути не більше 20 мг-екв\л).
Сама нафта вміщує дуже небагато води (30 млн-1), яка потрапляє в нафту в результаті:
- Змішування нафти під час добування з водою родовища – розсолом (тобто водою, насиченою NaCl), чи з водою промивки при бурінні;
- Змішування нафти під час транспортування з баластною водою, що являє собою морську воду, насичену киснем.
Солоність водної емульсії в сирій нафті коливається від 4 до 250 г\л (NaCl, MgCl2, CaCl2).
В нафтопереробці для обезсолення застосовують маломінералізовану, нейтральну і, по можливості, м’яку воду, що має наступні показники: pH 6-7.3, Cl- < 50 мг\л, S2- < 20 –50мг\л; та без вмісту кисню.
Склад рідких відходів процесу обезсилення. На виході установки обезсолення промивна вода має наступні характеристики:
- Температура 40-60 С;
- Підвищений вміст хлоридів: від 2 до 15 г\л;
- рH 7-8;
- ХПК 100- 300 мг\л;
- Склад емульсованих вуглеводів: 100- 200 мг\л;
- Чорний колір, що зумовлений наявністю колоїдних часток FeS в результаті корозії;
- Наявність осадів різних солей, що містять ванадій і алюміній.
Кількість рідких відходів. Об’єм промивної води, що використовується в установці обезсолення, складає 5-6% від об’єму переробленої сирої нафти. Нижче наведено приклад видалення солі, що виноситься промивною водою установки обезсолення:
Потужність установки обезсолення | 12000 куб. м\доб (75500 барелів) |
Вміст солі сирій нафті | 300мг\л (104 фунта на 1000 барелей) |
В обезсоленій нафті | 10 мг\л (2,8 фунта на 1000 барелей) |
Вміст води в сирій нафті | 0,4% |
Той що залишився в нафті | 0,2% |
Об’єм води для процесу обезсолення (до об’єму нафти) | 6% |
Кількість видаленої солі | 3480 кг\добу |
Витрати промивної води | 744 куб. м. добу |
Кількість солі видаленої з промивкою | 4,67 г\л |
Технологічні конденсати
Отримуються при конденсації пара, що вступив в контакт є нафтопродуктами, і можуть бути трьох видів: конденсати перегонки; "кислі" конденсати; конденсати процесу прогріву продуктів.
Конденсати перегонки
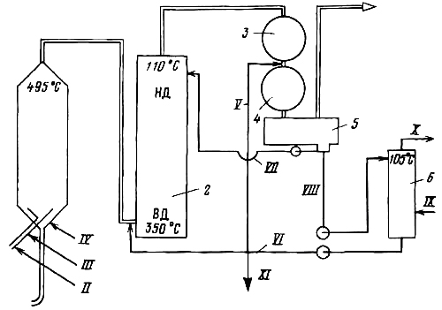
Атмосферна перегонка. Конденсати утворюються з пару, що захвачує за собою в процесі ректифікації нафтопродукти, що розділяються. Вони збираються в верхній частині основної колони і складають 2,5 –3,5% від вихідного завантаження.
Рис1.

Вакуумна перегонка. Конденсати утворюються з пару, що відгонює за собою або розбавляє продукти перегонки, та з робочого пару (ежектори і барометричний конденсатор). Вони складають 3-4% від вихідної загрузки рис 1.
Забруднення цих конденсатів незначне див. Таблицю:1 і виправдовує їх повернення для промивки сирої нафти.
Показник | АП | ВП | КК | ГГ | П |
Вихідний вміст фенолів,% | 2,5-3,5 | 3-4 | 6-12 | 3-6 | 15-35 |
pH
| 6-7 | 6-7 | 8-9,5 | 5-6 | 6-8,5 |
HS-, RHS | 20-200 | 10-50 | 500-3000 | 3000-5000 | 10-20 |
Cl- | 5-100 | 5-50 | 10-50 | 10-30 | ----- |
NH4 | 10-60 | 3-30 | 300-3000 | 1500-3000 | залишки |
CN- | ---- | ----- | 5-200 | 2-10 | ------ |
Феноли | 10-30 | 5-10 | 80-300 | 10-20 | 20-30 |
Вуглеводи | 30-60 | 2-20 | 5-60 | 5-20 | 30-50 |
CH3CO2H | ------ | ------ | ------ | ------ | 50-100 |
CH3CHO | ------ | ------ | ------ | ------ | 50-100 |
АП- атмосферна перегонка; ВП- вакуумна перегонка; КК- каталітичний крекінг; ГГ- гідроочистка газойля; П- піроліз.
"Кислі" конденсати каталітичного крекінга і гідрокрекінг
Вони утворюються при роботі установок термічного чи гідрокрекінга, в яких використовується впорскуваний (інжекція) або нагнітаємий (аерація) пар. Оброблювані тяжкі і в’язкі продукти насичені сіркою, що гідрується та відганяється з паром. На виході в реактор КК може також додаватись демінералізована вода для зменшення парціального тиску H2S і NH3 в парах та для відводу газів за рахунок їх розчинення.
NH3 утворюється в результаті гідрування азотомістких сполук та фенолів, утворених при взаємодії пару з циклічними сполуками.
Ці конденсати називають "кислими" через значний вміст HNH4S в поєднанні з помітним вмістом фенольних сполук (табл. 1). Вони складають 6-12% від завантаження. "Кислі" конденсати не можуть бути використані в циклах установок обезсолення, також їх неможна скинути в загальну каналізацію без попередньої очистки від сполук сірки. Враховуючи природу продуктів крекінгу, можна очікувати, що такі конденсати також часто можуть утворювати стабільну хімічну емульсію.
Конденсати процесів прогріву продуктів
Вони мають високу температуру і тільки випадково вступають в контакт з вуглеводневими продуктами, тому не вміщують помітної кількості забруднювачів.
Невелика кількість захвачених парафінових вуглеводів повинна бути видалена для забезпечення можливості рециркуляції конденсатів в перегінному кубі низького тиску.
Технологічні рідкі відходи
Стічні води процесів продуву бітумів. Мова йде про процес окислення атмосферним киснем для збільшення ступеню дисперсності асфальтенів в бітумах. Гази промиваються в протитоці гарячою прісною водою, зібрана в результаті цього вода утворює дуже стійку хімічну емульсію (2000-8000 мг\л), яку можна зруйнувати тільки шляхом енергетичної коагуляції чи підкисленням.
Стічні води процесу каталітичного алкілування
Каталітичне алкілування звичайно проводиться при наявності H2SO4 і може давати відходи, що насичені сульфоновими кислотами. При використанні HF може виникнути проблема видалення фосфоровмісних сполук, що легко випадають у осад, особливо коли справа торкається NaF чи NH4F.
Стічні води (СВ), що утворюються при виробництві мастил
Основою цих стічних вод є атмосферні дистиляти чи вакуумні останки після деасфальтизації. Мастила отримують з ізопарафінів C22-C40, що добуваються в два етапи з попередніх фракцій:
Добування ароматичних сполук за допомогою альдегідів, фурфуролу чи N-метил-2-пірролідона (N-МП);
Добування нормальних парафінів за допомогою метилетилкетона (МЕК) чи метилізобутилкетону (МІБК).
Ці розчинники добре розчинні у воді і здатні до біорозкладу за деяких обставин (таблиця 2)
Показник | (N-МП) | фурфурол | (МЕК) | (МІБК) |
Температура кипіння С° | 201 | 161 | 79 | 118 |
Густина | 0,02 | 1,15 | 0,82 | 0,80 |
Розчинність г\л | р | 83 | 320 | 18 |
ТДК | 2,5 | 1,66 | 2,44 | 2,72 |
ПДК5 мг\мг | 1-1,5 | 0,3-0,8 | 1,5-1,8 | 0,6-2 |
ХДК мг\мг | 2,5 | 1,6 | 2-2,3 | 2,1-2,4 |
Здатність до біорозкладу | Немає даних | добре | добре | Немає даних |
За відсутності необхідного устаткування, необхідного для збору витоків цих розчинників, можливі їх надмірні викиди в основний потік стічних вод, де вони швидко розчиняються і розсіюються. В результаті цього, не дивлячись на значне розчинення цих речовин, стоки характеризуються непостійним і існуючим ХДК: середнім від 150 до 400 мг\л; максимальним – від 800 до 1400 мг\л.
Враховуючи високу вартість використовуваних розчинників, в першу чергу необхідно надати перевагу методам, що дозволяють запобігти їх витокам. Крім того, встановлення буферних ємностей на вході в систему скидання дозволяє регулювати концентрацію розчинників в загальному потоку стічних вод і досягати задовільної адаптації до них біологічної маси при біологічній очистці.
(N-МП), (МЕК) та (МІБК) не токсичні по відношенню до біологічної маси, принаймні до концентрації 600 мг\л. проте слід враховувати їх різницю здатності до біорозкладу, організовуючи визначений порядок надходження цих речових визначеної концентрації на споруди біологічної очистки. Гідравлічні буфери і правильно обрана гнучка біологічна очистка активними мулами з тривалою аерацією при доброму перемішуванні створюють необхідні умови.
(МЕК), завдяки своїй леткості, може бути повернутий в цикл із концентрованих відходів за допомогою перегонки.
Маслянисті води
Вони являють собою основні рідкі відходи нафтопереробки і можуть бути розподілені на дві групи, що мають власні системи відводу і особливу схему обробки та подальшого використання.
Звичайні маслянисті води (ЗМВ)
Звичайні маслянисті води утворюються з:
- Вод дренажних мереж сховищ сирої нафти чи продуктів нафтопереробки. Відповідно до ступеня розбавлення і властивостями продуктів, що зберігаються, ці води можуть містити вуглеводи (до декількох г\л), асоційовані з фенолами, кількість яких, в свою чергу, може складати від 1 до 10 мг\л;
- Дощових (атмосферних) стічних вод, що омивають устаткування, насосні станції, пункти завантаження, відкриті площадки з територією до 10 га;
- Поверхневих ґрунтових вод.
Випадкові маслянисті води
В цю групу входять, по-перше, промивні води систем охолодження, що працюють при атмосферному тиску, забруднені через витоки в теплообмінниках (маються на увазі тяжкі фракції, що містять сполуки з кількістю атомів вуглецю більш 5) [К. Шевальє\\ Техніка води та асенізації1979р, ]:
процес | Витрати% від вихідного завантаження | |
Стічні води | Промислові води | |
Атмосферна перегонка | 3,3 | 0,2 |
Вакуумна перегонка | 4,7 | 3,3 |
Каталітичний крекінг | 10,7 | 2,8 |
Риформінг | 0,24 | 0,24 |
Виробництво мастил | 23,8 | 81,0 |
Основні промислові води досить різняться в залежності від призначення систем охолодження, що працюють при атмосферному тиску.
Згідно з доповіддю, опублікованій в Concawe (1997 №5), передбачалось до кінця 1980 збільшити потужність систем охолодження, що працюють під тиском, для стандартних НПЗ потужністю 10 Мт\рік (в залежності від складності технологічного процесу) з 2500 до 10500 м3 \год (або з 2 до 8,4 м3 \т), для вже застарілих заводів – з 10 до 24 м3 \т. кількість промивних вод, що використовуються для розбавлення, може варіювати від 50 до 500 л\т та складати значну частину від зростаючих викидів (0,2-1 м3 \т), без врахування атмосферних вод.
Ці значення прирівняні з регламентованими французькими нормами об’ємів скидання (без атмосферних (дощових) і баластної вод), 1 м3 на 1 т сирої нафти:
- Звичайний НПЗ – 0,4;
- НПЗ з крекінгом – 0,8;
- Комплексний НПЗ – 1,2 м3 на 1 тону сирої нафти.
В групу ВМВ повинні включати також дощові води, що випадають на території нафтопереробного заводу, з яким може надходити значна кількість забруднюючих речовин. Надходження можуть бути тривалими (в сезон дощів, Бразилія, Колумбія) або тимчасовими (під час сильних злив).
В обох випадках потрібно знати щільність дощу і площу, що розглядається (від 5 до10га).
У Франції об’єм грозових осадів, що випадають протягом 12-30 хвилин на територію НПЗ (в залежності від його розташування) складає від 2000 до 8000 м3. Кількість осадів може змінюватись від 5¸20 мм за 15 хв. До 50¸120 мм за день.
Під час гроз першими забруднюються перші потоки, що омивають землю. Їх об’єм може складати від 500 до 3000 м3 \год. Так як для цих вод не передбачена миттєва обробка, їх необхідно збирати в грозові басейни, об’єм якого можна розрахувати відповідно до річних статистичних даних.
Стічні води без масел
До них відносяться:
- Господарсько –побутові стічні води, що утворюються на самому підприємстві;
- Побутові води від душових, пралень и т. д. вони можуть складати від 80 до 200 л на три розподільчі вузли, і значення ПДК5, для таких стічних вод досягає 45-75 г в день; водогінна вода забирає 15 г О2 на кожен розподільчий вузол;
- Води лабораторій;
- Промивні води котлів, якщо там утворились солі PO43-;
- Елюати, утворені при регенерації іонообмінників;
- Шламові води після відстійників чи декарбонізаторів води підживлення;
- Промислові води фільтрів.
Ці рідкі відходи повинні бути направлені в окремі каналізаційні потоки для організації їх кращої обробки.
На завершення. Скиди стічних вод, що не містять мастил, досить постійні на НПЗ, вони містять поганорозчинні органічні речовини. Випадкові маслянисті води більш мінливі за складом і головним джерелом вуглеводів в загальних потоку стічних вод.
На НПЗ потужністю 8- 10Мт\рік в результаті часткового невиконання технологічного регламенту і випадкових викиди вуглеводів можуть сягати від 20 до 100 і навіть 200 м3 \доб. При використанні гравітаційних сепараторів можна рекуперувати 80 –90% первинних втрат, що виправдовує розробку та експлуатацію цих пристроїв.
Технологічні води проб деколи відокремлені від маслянистих вод. Вони включають в себе "кислі" конденсати і води з установок обезсолення.
Тому єдиний можливий вихід у використанні стічних вод нафтопереробки полягає у вдосконаленні технологій очистки стічних вод виробництва та часткове, а де це можливо і повне їх повернення у технологічний процес, що призведе до зменшення навантаження на довкілля.
Література
- Ф. Берне, Ж. Кордоньє\\ Водоочистка очистка сточных вод нефтепереработки. С. 62 Москва "Химия" 1997.
- Г. Фелленберг, Загрязнение природной среди- введение в екологическую химию., с. 129 Москва "Мир" 1997.